Product Introduction
The household monitoring management system integrates IoT, big data, and cloud computing technologies to achieve high-concurrency data collection and intelligent management of heating terminal devices. It features operation monitoring, historical analysis, heat theft inspection, statistical reports, room temperature monitoring,metering and billing, and AI anomaly detection. Through AI algorithms, it accurately identifies abnormal heat usage, automatically generates analysis reports, provides fault warnings and energy-saving suggestions, adopts a cloud architecture to ensure efficient and stable data processing, and offers a simple and user-friendly interface. It helps enterprises achieve precise control, reduce costs, increase efficiency, and improve the quality of heating services and management levels.

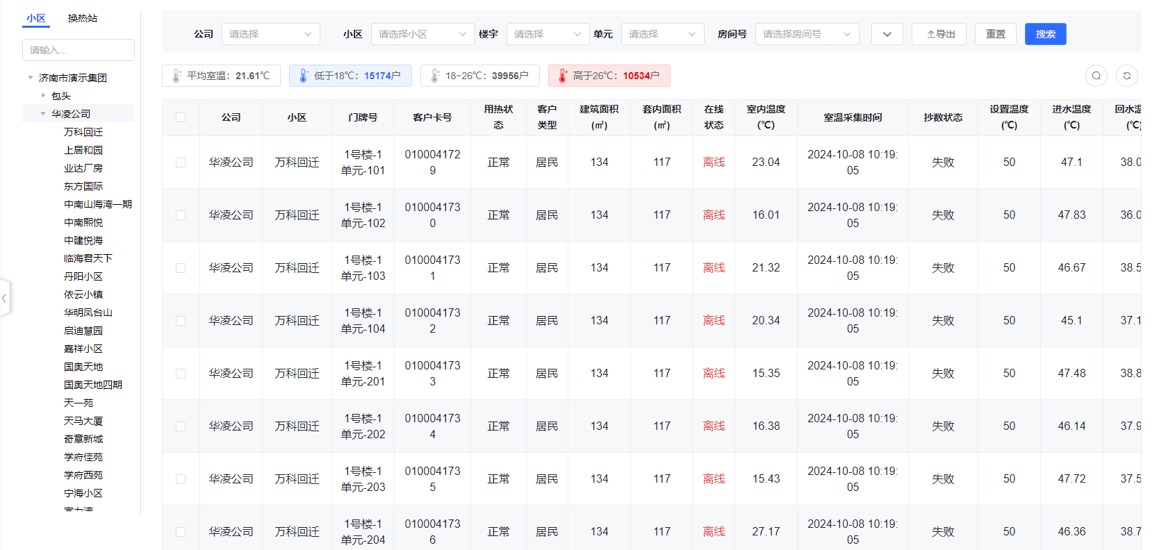
Core Functions
Operation Monitoring: Supports online real-time monitoring of terminal devices (household meters, household valves, panels, unit meters, unit valves, etc.) as well as offline device alarm prompts. It can perform batch real-time reading, valve control, and other operations.
Data Analysis: Supports quick analysis of isolated users in a nine-grid location format, supports multi-dimensional viewing of two- dimensional simulation maps by building, unit, etc., for comprehensive analysis of heat usage, supports comparison of key parameter historical data, accurately analyzes abnormal heat usage, and assists in optimizing management decisions.
Heat Theft Inspection: Flexible settings for heat theft determination parameters and alarm times, real-time monitoring of abnormal heat usage, automatic generation of inspection reports, precise identification of heat theft users, and improved management efficiency.
Fault Alarm: Supports automatic push of warnings and alarm information via WeChat Work, SMS, OA, and other methods, improving maintenance efficiency by over 80%. Historical alarm records are traceable, assisting in optimizing operation and maintenance strategies and reducing heat supply losses.
Typical Room Temperature Monitoring: Supports real-time monitoring of typical end-point room temperatures, classifying users as high temperature, low temperature, or appropriate temperature based on temperature ranges; enables sharing of room temperature data with production systems, providing data support for heat network balance regulation and improving energy utilization efficiency.
Measurement and Billing: Supports precise measurement and multi- mode billing, generating household heat usage bills with one click, reducing manual calculation errors. The system is compatible with tiered pricing, helping heating enterprises efficiently collect fees.

Product value
Accurate Data Collection: Remote automatic meter reading eliminates manual errors and improves data reliability.
Intelligent Statistical Analysis: Automatically generates heat usage reports to assist resource allocation and energy-saving decisions;
Real-time Anomaly Monitoring: Automatically alerts for heat theft, leaks, and other anomalies, reducing management costs;
Multidimensional Data Visualization: Supports multidimensional analysis such as buildings and units, optimizing heating balance;
Historical Traceability and Comparison: Long-term data storage and trend analysis provide data support for planning.
Product Advantages
Flexible Expansion and Integration: Compatible with various metering devices, supports seamless integration with other platforms, meeting future upgrade needs.
AI Anomaly Detection: Intelligent analysis of heating anomaly data based on AI algorithms, generating anomaly reports to reduce manual inspection costs.
Efficient Data Management: Automatically generate multi-dimensional statistical analysis reports, support historical data comparison, optimize heating strategies, and improve energy efficiency management.
Intelligent Visual Analysis: Support various types of statistical charts such as location nine-grid maps and building simulation 2D maps, intuitively displaying heating distribution and anomaly areas to assist precise decision-making.